Lisa's Column

IMU and GPS fusion algorithm principle

IMU and GPS fusion algorithm principle

The SENSONOR STIM300 is a high-precision Inertial Measurement Unit (IMU) that incorporates state-of-the-art gyroscope, accelerometer, and magnetome...

SENSONOR: GYRO SENSORS STIM300

SENSONOR: GYRO SENSORS STIM300

The SENSONOR STIM300 is a high-precision Inertial Measurement Unit (IMU) that incorporates state-of-the-art gyroscope, accelerometer, and magnetome...

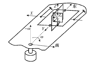
3 Mainly Applications of Vertical Gyroscope

3 Mainly Applications of Vertical Gyroscope

A vertical gyroscope, also known as a vertical gyro or an attitude gyroscope, is a type of gyroscopic instrument that primarily measures the orient...

The Working Principle of Inclination Sensor

The Working Principle of Inclination Sensor

An inclination sensor, also known as a tilt sensor or an inclinometer, measures the angle of tilt or slope of an object with respect to gravity. Th...

How is the Calibration Process Performed for a Single Axis Fiber Optic Gyroscope?

How is the Calibration Process Performed for a Single Axis Fiber Optic Gyroscope?

The calibration process for a single-axis Fiber Optic Gyroscope (FOG) involves several critical steps to ensure its accuracy and reliability, parti...

Impact of Analog MEMS Accelerometer Selection on ABS System Stability Control

Impact of Analog MEMS Accelerometer Selection on ABS System Stability Control

Selecting an appropriate analog MEMS (Micro-Electro-Mechanical Systems) accelerometer is crucial for the stability control of an Anti-Lock Braking ...

What is a Navigation Grade IMU and How Does It Differ from Other Types of IMUs?

What is a Navigation Grade IMU and How Does It Differ from Other Types of IMUs?

A Navigation Grade Inertial Measurement Unit (IMU) is a highly precise and reliable device used for applications requiring exceptionally accurate p...

What is gyroscope? How does a fiber optic gyro work?

What is gyroscope? How does a fiber optic gyro work?

A gyroscope is a device used for measuring or maintaining orientation and angular velocity. It consists of a spinning wheel or rotor that is mounte...

Inertial navigation system(INS) sensor solutions

Inertial navigation system(INS) sensor solutions

                        Inertial Navigation Systems (INS) are critical for determining the position, orientation, and velocity of moving objects wi...

The difference between ring laser gyro and fiber optic gyro

The difference between ring laser gyro and fiber optic gyro

Ring Laser Gyroscopes (RLG) and Fiber Optic Gyroscopes (FOG) are both types of optical gyroscopes that make use of the Sagnac effect to measure rot...

Calibrating Processing of MEMS IMU ER-MIMU-02

Calibrating Processing of MEMS IMU ER-MIMU-02

Calibrating a MEMS IMU (like the ER-MIMU-02) is an essential process to ensure accuracy and reliability in the sensor's measurements. Calibration t...

IMU 16488 Solution: ADIS16488BMLZ IMU VS China alternative ADIS16488BMLZ

IMU 16488 Solution: ADIS16488BMLZ IMU VS China alternative ADIS16488BMLZ

The ADIS16488BMLZ is a high-performance Inertial Measurement Unit (IMU) designed by Analog Devices. It is widely known for its accuracy and robustn...